挤出机螺杆机筒的冷却方法有几种
机筒的降温冷却方法有水冷和风冷两种。
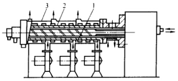
①机筒吹风降温。就是用电动风机鼓风,吹向挤出机螺杆机筒需要降温的部位,使冷风带走机筒热量,达到机筒降温目的。图2-39所示为用风机为机筒降温的装置。

图2-39 用风机为机筒降温装置
1-风机;2-机筒;3-电阻加热器
风机为机筒冷却降温,设备结构简单,热冲击小,造价低,维修拆卸方便,所以目前应用较多。不足之处是对机筒的冷却降温速度比较缓慢。
②机筒用水冷却降温。一般是机筒外加水套或缠紫铜管,然后通水。其结构形式见图2-40。

图2-40 机筒外围用水套冷却装置结构
1-喷水套;2-水套;3-上水管;4-机筒
机筒采用水冷方式,装置也很简单,机筒降温速度快,但长时间应用后水管容易结水垢而堵塞,所以,应使用软化水,循环应用比较合理。