螺杆加料段和料斗座的冷却目的是什么?
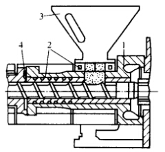
螺杆加料段和料斗座的冷却目的是为了防止原料在此部位温度过高而发黏,这样料容易粘在螺杆的螺纹表面上而随螺杆转动,影响原料的推动前移,使生产无法正常进行。所以,该部位必须通冷却水降温,把机筒外围和料斗座加工出流水空腔(见图2-42),使这个部位的温度恒定在一个温度范围内。

图2-42 料斗座和螺杆加料段冷却水腔装置
1-料斗座;2-冷却水腔;3-料斗;4-螺杆
料斗座通水降温也防止了机筒热传导给螺杆轴承,这对螺杆轴承的润滑和延长轴承工作寿命有利。
螺杆加料段和料斗座的冷却目的是为了防止原料在此部位温度过高而发黏,这样料容易粘在螺杆的螺纹表面上而随螺杆转动,影响原料的推动前移,使生产无法正常进行。所以,该部位必须通冷却水降温,把机筒外围和料斗座加工出流水空腔(见图2-42),使这个部位的温度恒定在一个温度范围内。

图2-42 料斗座和螺杆加料段冷却水腔装置
1-料斗座;2-冷却水腔;3-料斗;4-螺杆
料斗座通水降温也防止了机筒热传导给螺杆轴承,这对螺杆轴承的润滑和延长轴承工作寿命有利。